Ford Focus: Kit de mobilité temporaireLe véhicule peut ne pas comporter de roue de secours. Dans ce cas, vous disposez d'un kit d'urgence qui peut être utilisé afin de réparer un seul pneu dégonflé.
Ce kit est situé dans le logement de la roue de secours.
Informations d'ordre général
AVERTISSEMENTS
|
Ce kit peut réparer la plupart des crevaisons [d'un diamètre maximal de six millimètres (1/4 de pouce)] afin de rétablir temporairement la mobilité du véhicule.
Observer les règles suivantes en cas d'utilisation du kit :
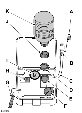
Utilisation du kit
AVERTISSEMENTS
ATTENTION Le compresseur ne doit pas fonctionner pendant plus de 10 minutes. |
Note : Le kit ne doit être utilisé que sur le véhicule avec lequel il a été livré.
Informez-les également des conditions de conduite particulières à respecter.
Gonflage du pneu
| AVERTISSEMENTS Avant le gonflage, contrôler le flanc du pneu. S'il présente une fissure, une boursouflure ou tout autre dommage équivalent, ne pas tenter le gonflage. Ne pas rester immédiatement à côté du pneu pendant le fonctionnement du compresseur. Observer le flanc du pneu. Si une fissure, une boursouflure ou tout autre dommage semblable apparaît, arrêtez le compresseur et laissez l'air s'échapper à l'aide du détendeur de pression B. Ne pas conduire le véhicule avec ce pneu. Le produit d'étanchéité contient du latex naturel. Eviter tout contact avec la peau et les vêtements. Si cette situation se produit, rincez immédiatement la partie du corps concernée avec une grande quantité d'eau. Consultez un médecin en cas d'apparition d'effets indésirables. Si la pression de gonflage n'atteint pas 1,8 bar (26 psi) dans les 10 minutes, le pneu est peut être trop endommagé pour permettre une réparation temporaire. Dans ce cas, ne pas poursuivre la conduite avec ce pneu. En vissant le flacon sur le porte-flacon, on perce l'opercule du flacon. Ne pas dévisser le flacon du support pour éviter toute fuite de produit d'étanchéité. |

Veiller à ce que l'étiquette ne masque pas quelque chose d'important.
Note : Lors du pompage du produit d'étanchéité à travers la valve du pneu, la pression peut monter jusqu'à 6 bars (87 psi) mais retombe après environ 30 secondes.
Note : Une fois le compresseur désactivé, vous pouvez entendre l'air s'échapper du pneu endommagé. Il s'agit d'un phénomène normal qui peut être ignoré si la pression de gonflage des pneus spécifique minimum a été atteinte.
Reposer le bouchon de la valve.
Note : Des résidus de produit d'étanchéité peuvent goutter ou fuir du flexible C lorsque vous le dévissez. Ceci est normal.
AVERTISSEMENT
Si des vibrations importantes, un comportement irrégulier de la direction ou des bruits sont observés pendant la conduite, réduire la vitesse et amener avec précaution le véhicule dans un endroit où il peut être stationné en sécurité. Contrôler de nouveau le pneu et sa pression. Si la pression de gonflage est inférieure à 1,3 bar (19 psi) ou s'il présente une fissure, un renflement ou tout dommage semblable, ne pas poursuivre la conduite avec ce pneu.
Contrôle de la pression de gonflage
Note : N'oubliez pas que ce kit n'assure qu'une mobilité temporaire. La règlementation concernant la réparation des pneus après utilisation du kit peut varier d'un pays à l'autre. Se renseigner auprès d'un spécialiste des pneus.
AVERTISSEMENT
Avant de conduire, s'assurer que le pneu est gonflé à la pression prescrite. Voir Spécifications techniques (page 249). Surveiller la pression de gonflage jusqu'au remplacement du pneu.
Les flacons vides de produit d'étanchéité peuvent être éliminés avec les ordures ménagères normales. Retourner les restes de produit d'étanchéité au concessionnaire ou les éliminer conformément à la réglementation locale sur l'élimination des déchets.
Généralités
Entretien des pneusAntenne
L'antenne ne peut pas être escamotée, mais elle
peut être retirée. Si vous devez retirer l'antenne,
tournez la tige de l'antenne dans le sens contraire
des aiguilles d'une montre.
Pour installer la tige de l'antenne, tournez-la dans
le sens des aiguilles d'une montre et serrez bien à
la ...
Panne de carburant (diesel)
Pour les véhicules équipés d’un moteur HDi, en cas de panne sèche, il est nécessaire
de réamorcer le circuit de carburant ; reportez-vous au dessin du sous-capot moteur
correspondant dans le paragraphe «Moteurs Diesel».
Si le réservoir de votre ...
Remplacement d'un pneu crevé
Si l'un de vos pneus est crevé, procédez aux
étapes décrites ci-après :
Immobilisation du véhicule
Déplacez votre véhicule en bordure de la
route lorsqu'il est prudent de le faire et
immobilisez-le aussi loin que possible de la
circulation.
Allumez les feux de détr ...